форточка Опубликовано 8 октября, 2008 Поделиться Опубликовано 8 октября, 2008 потухла подцветка ручки акпп где эта лампочка и как ее менять? Ссылка на комментарий Поделиться на другие сайты Поделиться
riglik Опубликовано 8 октября, 2008 Поделиться Опубликовано 8 октября, 2008 потухла подцветка ручки акпп где эта лампочка и как ее менять? какая еще подсветка - там же просто какой-то маркер передвигающийся Ссылка на комментарий Поделиться на другие сайты Поделиться
Bosted Опубликовано 9 октября, 2008 Поделиться Опубликовано 9 октября, 2008 она у мну с момента покупки не горит, ужо привык в слепую переключаться =0 а вобще думаюподсветку по лучше придумать Ссылка на комментарий Поделиться на другие сайты Поделиться
форточка Опубликовано 10 октября, 2008 Автор Поделиться Опубликовано 10 октября, 2008 так где та самая лампочка ? как до нее добраться что бы поменять? Ссылка на комментарий Поделиться на другие сайты Поделиться
санег Опубликовано 10 октября, 2008 Поделиться Опубликовано 10 октября, 2008 так где та самая лампочка ? как до нее добраться что бы поменять? думаю что надо разбирать консоль у рычага. скорее всего стоит на защелке. Ссылка на комментарий Поделиться на другие сайты Поделиться
форточка Опубликовано 10 октября, 2008 Автор Поделиться Опубликовано 10 октября, 2008 думаю что надо разбирать консоль у рычага. скорее всего стоит на защелке. во сказал, я вообще не поняла, что за консоль и на какой защелке? Ссылка на комментарий Поделиться на другие сайты Поделиться
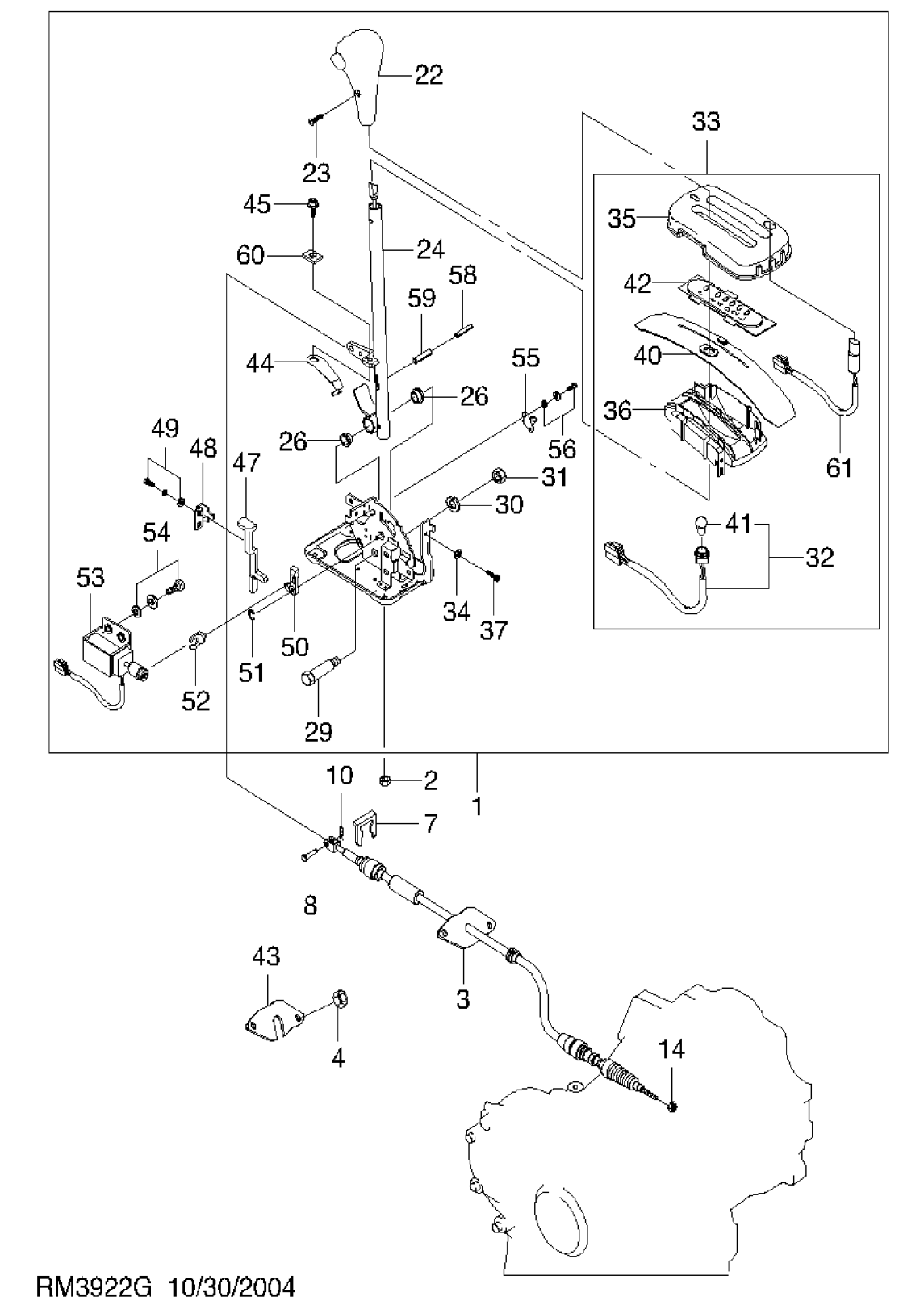
Федот Опубликовано 10 октября, 2008 Поделиться Опубликовано 10 октября, 2008 №41, лампочка. _____________.bmp Ссылка на комментарий Поделиться на другие сайты Поделиться
форточка Опубликовано 10 октября, 2008 Автор Поделиться Опубликовано 10 октября, 2008 в общим, понимаю, что кроме Маусова и Матизыча, которые сейчас вне Клуба, ответить никто не может: где тут лампочка? как до нее добраться? ау! люууууди!? Ссылка на комментарий Поделиться на другие сайты Поделиться
riglik Опубликовано 10 октября, 2008 Поделиться Опубликовано 10 октября, 2008 в общим, понимаю, что кроме Маусова и Матизыча, которые сейчас вне Клуба, ответить никто не может: где тут лампочка? как до нее добраться? ау! люууууди!? я не пойму - а где должно гореть-то? у меня собственно всегда так Ссылка на комментарий Поделиться на другие сайты Поделиться
форточка Опубликовано 10 октября, 2008 Автор Поделиться Опубликовано 10 октября, 2008 я не пойму - а где должно гореть-то? у меня собственно всегда так как так? ты сейчас вечером едешь у тебя буковки горят, у меня нет...я по привычке переключаю...и все равно, подцветка должна быть.. обрати внимание...) вечером...) Ссылка на комментарий Поделиться на другие сайты Поделиться
санег Опубликовано 11 октября, 2008 Поделиться Опубликовано 11 октября, 2008 консоль -это пластиковая накладка на которой нарисованы буковки. как снимается х.з. тебе надо купить зарулевскую книжку . она с картинками и подробным объяснением ремонта . в магазине она должна стоить дешевле чем там цена на сайте Ссылка на комментарий Поделиться на другие сайты Поделиться
форточка Опубликовано 11 октября, 2008 Автор Поделиться Опубликовано 11 октября, 2008 Сань, такая книжка есть.. честно скажу когда листала не видела про замену лампы в\под консоль(ю) Ссылка на комментарий Поделиться на другие сайты Поделиться
Федот Опубликовано 11 октября, 2008 Поделиться Опубликовано 11 октября, 2008 Консоль))) _______________1_.bmp Ссылка на комментарий Поделиться на другие сайты Поделиться
mazlOFF Опубликовано 11 октября, 2008 Поделиться Опубликовано 11 октября, 2008 По-моему, эта верхняя панель на защелке, но как ее поддеть? Ссылка на комментарий Поделиться на другие сайты Поделиться
форточка Опубликовано 12 октября, 2008 Автор Поделиться Опубликовано 12 октября, 2008 По-моему, эта верхняя панель на защелке, но как ее поддеть? вот имеено как? Ссылка на комментарий Поделиться на другие сайты Поделиться
форточка Опубликовано 16 октября, 2008 Автор Поделиться Опубликовано 16 октября, 2008 а-у! так скажите что-нить по вопросу...а? Ссылка на комментарий Поделиться на другие сайты Поделиться
mousoff Опубликовано 28 октября, 2008 Поделиться Опубликовано 28 октября, 2008 Дык а ф чем проблема то? Снимается верхушка 35, потом фигуля с цифирьками и снизу будит поворотный патрончик под безцокольную лампочку, кажись 2-хватную. Внимание!! 5-ти сувать туда нинада! Ссылка на комментарий Поделиться на другие сайты Поделиться
форточка Опубликовано 28 октября, 2008 Автор Поделиться Опубликовано 28 октября, 2008 Дык а ф чем проблема то? Снимается верхушка 35, потом фигуля с цифирьками и снизу будит поворотный патрончик под безцокольную лампочку, кажись 2-хватную. Внимание!! 5-ти сувать туда нинада! ну наканецта...спасибо...) терь надо проверить сколько ват у меня лампачки в габажнике?...) зы: Дим, что есть 35? и как снимается верхушка то? где у нее защелки, ну что б ненароком их не сломать, млинклинтан...) Ссылка на комментарий Поделиться на другие сайты Поделиться
mousoff Опубликовано 29 октября, 2008 Поделиться Опубликовано 29 октября, 2008 35-номер детальки на картинке. Хм. А как можно рассказать как? Аккуратно, потихоньку- там же все чувствуется что и где ее держит. Ссылка на комментарий Поделиться на другие сайты Поделиться
LOMANI Опубликовано 23 октября, 2014 Поделиться Опубликовано 23 октября, 2014 (изменено) ребят...купил вчера матиз...панелька акпп не горит....ну лампочку та я поменяю, а вот как она будет гореть? т.е. что подсвечивать? всю панельку? или только текущее положение рычага? нужно чтоб горела вся панелька, дабы видеть в какое положение ставлю рычаг Изменено 23 октября, 2014 пользователем LOMANI Ссылка на комментарий Поделиться на другие сайты Поделиться
mousoff Опубликовано 23 октября, 2014 Поделиться Опубликовано 23 октября, 2014 Через день езды этот вопрос отпадет сам собой. Не нужно видеть куда он переключается, отлично все чувствуется. Ты же не делаешь подсветку педалей? Ссылка на комментарий Поделиться на другие сайты Поделиться
марсианка Опубликовано 23 октября, 2014 Поделиться Опубликовано 23 октября, 2014 (изменено) а вот и нет! У меня тоже перегорела, так я в темноте мучилась, особенно при парковке: вперед-назад... У меня на Спарке подсвечивается вся панелька, а текущий режим светлее. Изменено 23 октября, 2014 пользователем марсианка Ссылка на комментарий Поделиться на другие сайты Поделиться
mousoff Опубликовано 23 октября, 2014 Поделиться Опубликовано 23 октября, 2014 Ок, значит я особенный, на индикации для меня нет ничего интересного. мы же говорим про обычный автомат. R и D включаются через нейтраль. Машина при этом в любом случае стоит, при включении на стоящей заведенной машине любого из этих положений заставляет машину напрячься либо вперед либо назад с просаживанием оборотов. Зачем при этом смотреть вниз на индикацию - правда не понимаю. Особенно на своей привычной машине. Ссылка на комментарий Поделиться на другие сайты Поделиться
LOMANI Опубликовано 24 октября, 2014 Поделиться Опубликовано 24 октября, 2014 ну вопрос как бы был другой, жаль что никто не знает =(( придется методом тыка выяснять Ссылка на комментарий Поделиться на другие сайты Поделиться
mousoff Опубликовано 24 октября, 2014 Поделиться Опубликовано 24 октября, 2014 Так лампочку то полюбому менять же) Или суть вопроса- если не все светится то можно и не менять? Ссылка на комментарий Поделиться на другие сайты Поделиться
Рекомендуемые сообщения
Для публикации сообщений создайте учётную запись или авторизуйтесь
Вы должны быть пользователем, чтобы оставить комментарий
Создать учетную запись
Зарегистрируйте новую учётную запись в нашем сообществе. Это очень просто!
Регистрация нового пользователяВойти
Уже есть аккаунт? Войти в систему.
Войти